SNCR+SCR脫硝技術
發布時間:2024-6-7 15:20:05 閱讀:882 次

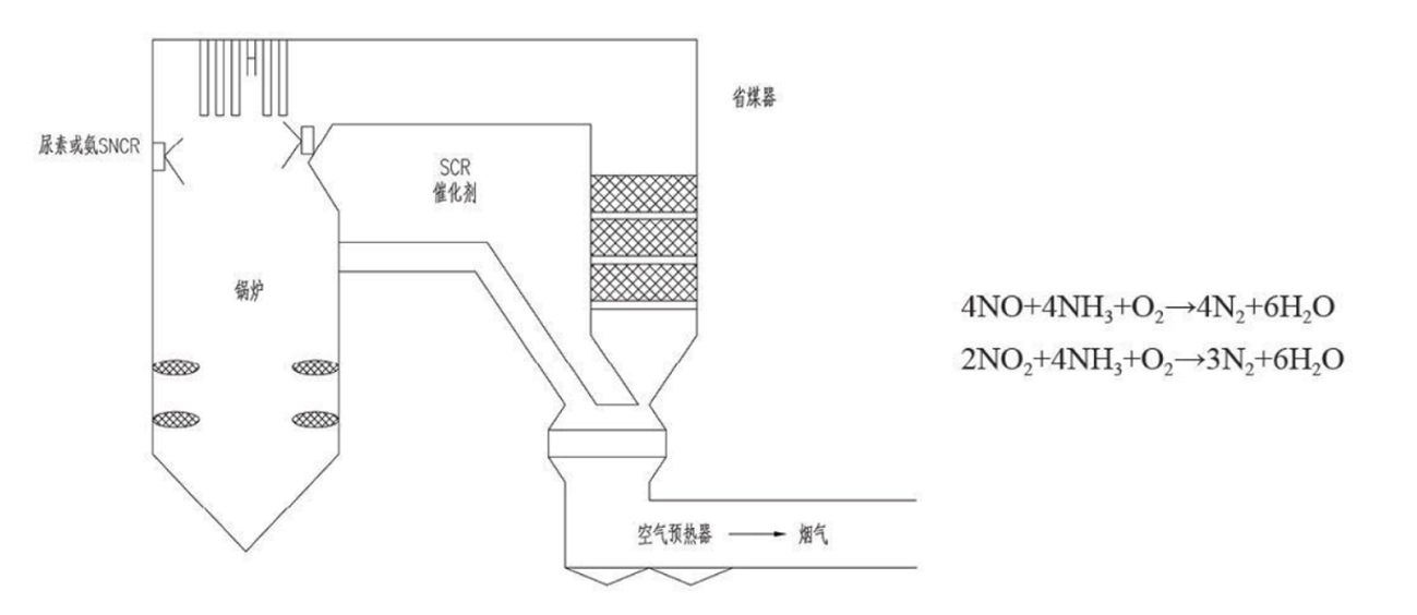
3.1技術簡介
依據不同項目實際情況,采用具有較高性價比的SCR+SNCR聯合脫硝工藝技術,該工藝技術結合了SCR 具有高脫硝率的優勢和SNCR低投資的優勢,不但可以節省投資運行成本,減少裝置占用空間,也能獲得較高的脫硝效率,尤其適用于中小鍋爐脫硝空間不足或原煙氣氮氧化物濃度變化較大的場合。
3.2工藝流程
3.3適用領域
① 適用于煙氣量較大的連續排放源;
② 初期環保要求不高,后期提標改造的項目;
3.4性能特點
① 反應器較SCR小,空間適用性強;
② 催化劑用量少,運行費用低;
③ 可分步安裝,滿足不同時期的環保要求,減少初始投資費用,適合受空間限制無法加裝大量催化劑的在役鍋爐的改造;
